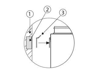
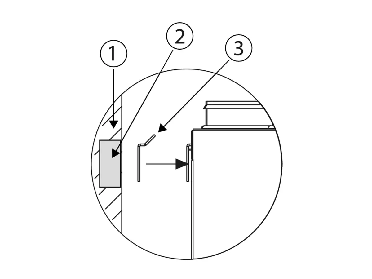
Wall Mounting Bracket
Wall mounting brackets for CASA ventilation units
- Wall mounting bracket WRWMB for R3 / R5 /W3 / W4/W5
Whilst we have made every effort to ensure information on this website is up to date and accurate, the technical specification and availability of products/services listed on this website may vary market to market and are subject to change without notice. Please contact your regional representative or visit your local website for further details.